具体查询步骤如下:
打开厦门社保网上办事服务大厅页面,如图

点击上图指出的地方,进入个人账户登录页面输入身份证号码和密码、验证码,如图

登录个人网厅首页,在左边功能栏中找到社保缴费与待遇查询,如图

打开社保缴费与待遇查询展开功能列表,找到社保缴费信息,如图

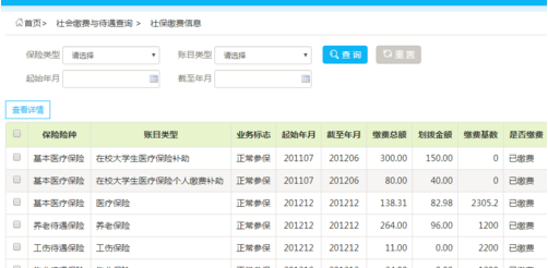
打开社保缴费信息,进入到社保缴费记录列表页面,这里默认显示最开始的,如图

选中一天记录,如图

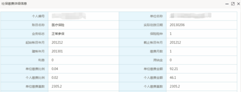
点击查看详细,显示这条记录的具体信息,如图。

具体查询步骤如下:
打开厦门社保网上办事服务大厅页面,如图

点击上图指出的地方,进入个人账户登录页面输入身份证号码和密码、验证码,如图

登录个人网厅首页,在左边功能栏中找到社保缴费与待遇查询,如图

打开社保缴费与待遇查询展开功能列表,找到社保缴费信息,如图

打开社保缴费信息,进入到社保缴费记录列表页面,这里默认显示最开始的,如图

选中一天记录,如图

点击查看详细,显示这条记录的具体信息,如图。
