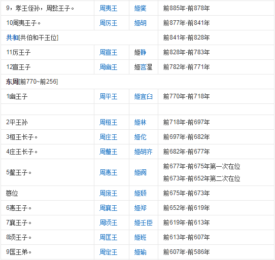
周朝历代皇帝列表1如下:

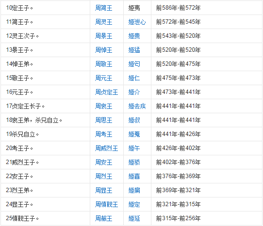
周朝历代皇帝列表2如下:

周朝历代皇帝列表3如下:

周朝君主,周朝时期的最高统治者,姬姓,黄帝后裔,又称周天子,如周武王、周平王。公元前1046年,周武王灭商建周,行分封制,周天子为天下之主,共传30代37王,后期周天子大权旁落,但仍为名义上的华夏最高统治者。

扩展资料:
周朝分为西周(前1046-前771年)和东周(前770年-前256年)两个时期。 周朝由周武王姬发创建,定都镐京,营建东都成周洛邑,何尊铭文记述了周成王营建(或曰迁都)成周(今河南洛阳)、举行祭祀、赏赐臣子的一系列活动。
其后周穆王又筑宫南郑, 其后周懿王又迁都犬丘(今陕西咸阳)。公元前771年镐京陷落,西周灭亡;公元前770年(周平王元年),平王东迁,定都成周(今河南洛阳),此后周朝的这段时期称为东周。史书又将西周和东周合称为两周。其中东周以“三家分晋”为节点,又分为春秋和战国两个时期。
参考资料来源:百度百科—周朝君主
参考资料来源:百度百科—周朝
